se 120 kw в тех паспорте .На этом автомобиле установлен (по крайней мере был установлен) двигатель модели М 110.983, мощностью 185 л.с. при 6 000 об/мин.
У Вас SE или SEL?
определение по фото тип впрыска
#21
ОФФЛАЙН
Отправлено 27 July 2009 - 23:09
w116 1975 года .
#22
ОФФЛАЙН
Отправлено 27 July 2009 - 23:46
а другая система не встанет?мож дешевле разок сменить и забыть?
w126,81г,мкпп-разобран,продаю запчасти)
#23
ОФФЛАЙН
Отправлено 28 July 2009 - 00:51
Можно установить K-, где-то читал, что энтузиасты и KE- устаналивали.а другая система не встанет?мож дешевле разок сменить и забыть?
Сообщение отредактировал Dr. Diesel: 28 July 2009 - 00:52
Mercedes-Benz. Ihr guter Stern auf allen Straßen.
#24
ОФФЛАЙН
Отправлено 28 July 2009 - 01:14
Обалдеть. Это у мерседеса ещо с 70-х годов существовал электронный впрыск? так понимаю, по аналогии с Январём - Давление во впускно тракте - это аналог ДАД что ли? получается по разнице давлений между атмосферой и впускным коллектором и по температуре воздуха он вычисляет массу воздуха? И это в 70-е???!!!
Вы правильно алгоритм работы описываете.
--------------------------------------------------------------------------
А почему же тогда не ставили на все остальные модели этот D-Jetronick?
Впервые сис-ма D-Jetronic появилась на автомобилях VW в 1967 (если не изменяет память) году.
Сис-ма D-Jetronic была очень сложна и дорога в обслуживании. Для настройки сис-мы применялась сложная аппаратура фирмы BOSCH. Каждая сис-ма настраивалась на заводе индивидуально под отдельный двигатель.
В общем-то, массовому внедрению сис-м впрыска топлива, мы обязаны калифорнийскому закону о токсичности выхлопов автомобилей от 1967 года. Тогда-то и выяснилось, что автомобили американского пр-ва, даже с карбюраторными двигателями, соответствуют этим требованиям, а европейские карбюраторные автомобили - нет, а европейские инжекторные - соответствуют.
------------------------------------------------
Небольшое сравнение:
Когда только появились модели 280 (/8) и 280 Е (/8), публика с оптимизмом приняла появление сис-мы впрыска D-Jetronic: так в период с 1971 по 1973 года было продано 19 537 шт. автомобилей модели 280 (solex 4A-1) и 13 711 шт. автомобилей модели 280 Е (D-Jetronic). Но через три года после появления модели 280 Е, клиенты осознали всю сложность и дороговизну в обслуживании сис-мы D-Jeronic и отдавали предпочтение "старому доброму" Solex 4A-1. И в период с 1973 по 1976 годы было продано 25 000 шт. автомобилей модели 280 и 9 125 шт. автомобилей модели 280 Е/
-------------------------------------------------
Впрыск топлива в впускной коллектор осуществляется последовательно, в соответствии с порядком работы цилиндров. Каждая форсунка оборудована собственным клапаном, который открывается в соответствии с порядком работы цилиндров, т.е. в сис-ме D-, в отличие от сис-мы K-, где топливо подаётся к каждой форсунке последовательно, топливо подаётся под давлением ко всем распылителям одновременно. А впрыск регулируется порядком открытия собственных клапанов распылителей.И ещё вопрос - как это - все форсунки включены последовательно? Т.е. впрыск все же одновременный?
Mercedes-Benz. Ihr guter Stern auf allen Straßen.
#25
ОФФЛАЙН
Отправлено 28 July 2009 - 01:19
Если планировать установку новой (я имею в виду не б/у) сис-мы питания, то самый дешёвый и простой вариант, пожалуй, это установка карбюратора Solex 4A-1.а другая система не встанет?мож дешевле разок сменить и забыть?
Mercedes-Benz. Ihr guter Stern auf allen Straßen.
#26
ОФФЛАЙН
Отправлено 28 July 2009 - 01:49
Бензин с каким октановым числом Вы используете?заводиться с пол оборота .
для машины 75 года набирает плавно и быстро обороты .
единственный минус примерный расход на трассе 20-23 литра . ну скажем так залил 40 литров проехал 150км + было в баке где то у резерва . и осталось около резерва . и того +\- 25 литров на сотню ... по трассе , удручает заливать при цене топлива в 45 рублей .(95еуро)
Сообщение отредактировал Dr. Diesel: 28 July 2009 - 02:19
Mercedes-Benz. Ihr guter Stern auf allen Straßen.
#27
ОФФЛАЙН
Отправлено 28 July 2009 - 03:28
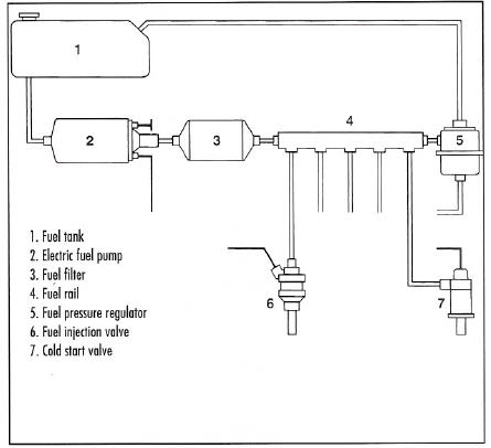
ЭБУ (электронный блок управления) D-Jetronic:
Принципиальная схема D-Jetronic:
1. топливный бак;
2. электрический бензонасос;
3. топливный фильтр;
4. fuel rail;
5. регулятор давления топлива;
6. распылители;
7. клапан холодного пуска;
Mercedes-Benz. Ihr guter Stern auf allen Straßen.
#28
ОФФЛАЙН
Отправлено 28 July 2009 - 14:22
Мда... Полноценный электронный распределенный впрыск, я вам скажу... Прям почти наше время. ТОлько одно но - ВСЯ схема ЭБУ аналоговая. Естественно было сложно настраивать её. Представьте - сейчас, в век квантования и цифровых технологий не все, кто устанавливает Январь на свой мерседес, устанавливают ДАД. finger на Январе с коммерческой прошивкой, как я понял, этот ДАД откатывал месяцами. Чтобы настроить впрыск под него. А здесь... Хы - аналоговая схема на транзисторах. Регуляция по току, судя по такому количеству разномощностных к тому же резисторов на схеме - читай - токовых плечей... Ужас ептыть... Им бы процессорик какой нить тогда уже. Глядишь фирма Bosh была бы вообще щас монополистом по системам впрыска.
Ну да ладно. К делу. Карб карбом канеш...
Какая система зажигания-то на мерседесе этом стояла?
P.s. А представляете, как начинала себя машина вести, когда окислялись хоть какие нить дорожечки на плате
ХЫ ХЫ ХЫ! Ужас наверное был.
MB 190, 89 год выпуска, модель201.028, 2,3, РКПП 5 ст., пока живой КЕ...
Да - sportline, оказывается.
VIN - WDB2010281F671706
#29
ОФФЛАЙН
Отправлено 28 July 2009 - 16:40
В то время это была самая современная сис-ма впрыска. Даже пресловутые японцы начали устанавливать на свои автомобили нечто подобное только через 4-5 лет.Мда... Полноценный электронный распределенный впрыск, я вам скажу... Прям почти наше время. ТОлько одно но - ВСЯ схема ЭБУ аналоговая. Естественно было сложно настраивать её. Представьте - сейчас, в век квантования и цифровых технологий не все, кто устанавливает Январь на свой мерседес, устанавливают ДАД. finger на Январе с коммерческой прошивкой, как я понял, этот ДАД откатывал месяцами. Чтобы настроить впрыск под него. А здесь... Хы - аналоговая схема на транзисторах. Регуляция по току, судя по такому количеству разномощностных к тому же резисторов на схеме - читай - токовых плечей... Ужас ептыть... Им бы процессорик какой нить тогда уже. Глядишь фирма Bosh была бы вообще щас монополистом по системам впрыска.
![]()
Ну да ладно. К делу. Карб карбом канеш...
Какая система зажигания-то на мерседесе этом стояла?
P.s. А представляете, как начинала себя машина вести, когда окислялись хоть какие нить дорожечки на платеХЫ ХЫ ХЫ! Ужас наверное был.
Mercedes-Benz. Ihr guter Stern auf allen Straßen.
#30
ОФФЛАЙН
Отправлено 29 July 2009 - 01:01
Не - ну так когда повился первый процессор то? Или лана - логические микросхемы хотя бы. Которые уже на цифровом уровне работали. С цифрой можно построить любую модель и без таких рисков и потерь, которые присущи любому аналоговому устройству. А бляха на транзисторах - жуть просто... ессно настройка под каждый мотор - подбирали сопротивления под каждый мотор на схеме. пипец...
А япы небось и использовали логику - тогда проще намного было б организовать обработку сигнала ДАД. Ведь ДМРВ тогда ещо не придумали ведь?
так что интересно все это канеш. Система зажигания у него какая? Топикстартер, ответьте - какая у Вас система зажигания на моторе стоит? трамблер? с вакумом иль без оного? Как-нибудь зажигание завязано, интересно знать, на контроль впрыска D-Jetronic?
MB 190, 89 год выпуска, модель201.028, 2,3, РКПП 5 ст., пока живой КЕ...
Да - sportline, оказывается.
VIN - WDB2010281F671706
#31
ОФФЛАЙН
Отправлено 29 July 2009 - 01:22
Сис-ма зажигания связана с сис-мой впрыска. Получая сигнал от сис-мы зажигания, D-Jetronic определяет положение поршня в цилиндре.Не - ну так когда повился первый процессор то? Или лана - логические микросхемы хотя бы. Которые уже на цифровом уровне работали. С цифрой можно построить любую модель и без таких рисков и потерь, которые присущи любому аналоговому устройству. А бляха на транзисторах - жуть просто... ессно настройка под каждый мотор - подбирали сопротивления под каждый мотор на схеме. пипец...
![]()
А япы небось и использовали логику - тогда проще намного было б организовать обработку сигнала ДАД. Ведь ДМРВ тогда ещо не придумали ведь?
так что интересно все это канеш. Система зажигания у него какая? Топикстартер, ответьте - какая у Вас система зажигания на моторе стоит? трамблер? с вакумом иль без оного? Как-нибудь зажигание завязано, интересно знать, на контроль впрыска D-Jetronic?
Mercedes-Benz. Ihr guter Stern auf allen Straßen.
#32
ОФФЛАЙН
Отправлено 29 July 2009 - 01:26
Japs так и не смогли придумать что-то лучшее, чем D-.А япы небось и использовали логику
В то время, многие производители просто покупали у BOSCH сис-му D-Jetronic. Так было до 1973 года, когда уже появилась новая сис-ма K-, и наследница сис-мы D- - сис-ма L-Jetronic.
Сообщение отредактировал Dr. Diesel: 29 July 2009 - 04:52
Mercedes-Benz. Ihr guter Stern auf allen Straßen.
#33
ОФФЛАЙН
#34
ОФФЛАЙН
Отправлено 29 July 2009 - 03:59
ага - ну да.
L - это где в качестве расходоера воздуха - железная пластина. Но впрыск все равно остается распределенный. И получается, что вычисления проще - отклонение пластины помноженные на температуру = масса проходящего воздуха. И потому она была дешевле, чем D- , но так же функциональна - распределенный впрыск и зажигание. Потом из L- вырос Motronic ведь? так?
А К- это система вообще получается бюджетная, рассчитанная на массовое производство и по сравнению со сложностью настройки D- сущая ерунда. Потому Мерседес и заключил контракт такой долгосрочный с BOSH на использование системы К-. Потому что линия налажена уже была по установке и настройке. От блять, проджект-менеджеры! Сплошная экономия получается.
А те, кто использовал L- сразу на Motronic перешли - как BMW к примеру.
Ещё, мне кажется, так прослеживается по логике продаж BOSH, что у них были какие-то ограничения на контракты при поставке этих систем впрыска - к примеру - L- - дорогая на пять лет, но дешевая на 20.
Так же и с K - Мерседес же её аж как 20 лет ставил на машины. И потом сразу HFM и PMS, что по сути и то и то - Мотроник.
Получается, что BMW потратилась и на короткое время - где-то на 70-е только года купила у BOSH L-, И потом с 80-х стала ставить сразу Motronic. А мерседес так на К- и сидел до 95 года.
Правильно рассуждаю?
MB 190, 89 год выпуска, модель201.028, 2,3, РКПП 5 ст., пока живой КЕ...
Да - sportline, оказывается.
VIN - WDB2010281F671706
#35
ОФФЛАЙН
Отправлено 29 July 2009 - 04:22
VW, VOLVO, SAAB устанавливали сис-му D- на свои 4 -цилиндровые двигатели ещй в начале 70-х, а у МБ 4-цилиндровые инжекторные двигатели появились в начале 80-х.ага - ну да.
L - это где в качестве расходоера воздуха - железная пластина. Но впрыск все равно остается распределенный. И получается, что вычисления проще - отклонение пластины помноженные на температуру = масса проходящего воздуха. И потому она была дешевле, чем D- , но так же функциональна - распределенный впрыск и зажигание. Потом из L- вырос Motronic ведь? так?
А К- это система вообще получается бюджетная, рассчитанная на массовое производство и по сравнению со сложностью настройки D- сущая ерунда. Потому Мерседес и заключил контракт такой долгосрочный с BOSH на использование системы К-. Потому что линия налажена уже была по установке и настройке. От блять, проджект-менеджеры! Сплошная экономия получается.
А те, кто использовал L- сразу на Motronic перешли - как BMW к примеру.
Ещё, мне кажется, так прослеживается по логике продаж BOSH, что у них были какие-то ограничения на контракты при поставке этих систем впрыска - к примеру - L- - дорогая на пять лет, но дешевая на 20.
Так же и с K - Мерседес же её аж как 20 лет ставил на машины. И потом сразу HFM и PMS, что по сути и то и то - Мотроник.
Получается, что BMW потратилась и на короткое время - где-то на 70-е только года купила у BOSH L-, И потом с 80-х стала ставить сразу Motronic. А мерседес так на К- и сидел до 95 года.
Правильно рассуждаю?
--------------------------------------------------
Здесь не стоит говорить про просчёты менеджеров.
Сис-мы L- и K- конкурировали. L- была наследницей сис-мы D- и опасаясь проблем с нею, инженеры МБ сделали ставку на сис-му K-.
Однако от того что модели МБ оснащались сис-мой К-, они не стали продаваться хуже. А то, что модели БМВ оснащались сис-мой L-, не взвинтило продажи БМВ.
Простота и дешевизна не были главными причинами выбора сис-мы К-, хотя это были большие козыри сис-мы К-, особенно на фоне сис-мы D-.
Сис-ма K- одладала той надёжностью, которой нехватало сначала D-, а потом и L-.
Сообщение отредактировал Dr. Diesel: 29 July 2009 - 04:54
Mercedes-Benz. Ihr guter Stern auf allen Straßen.
#36
ОФФЛАЙН
Отправлено 29 July 2009 - 16:04
Да я вобщем совершенно не про просчеты. Просто интересно. Система К достаточно надежна - это факт. В наше время конечно же подавай распределенный впрыск, а в то время, да ещё и на фоне системы D, понятно стремление Мерседеса найти максимально качественную систему впрыска. Иначе бы статус марки подорвался бы, особенно руководствуясь цифрами по спаду продаж машин с системой D. К и КЕ достаточно интересные системы\, особенно на фоне карбюраторов, которые до сих пор устанавливаются на некоторые модели жигулей. Сам признаюсь - езжу на КЕ и пока есть даже прогревочные обороты.
А насчет данной темы - моё предложение - прямая дорогая топикстартеру в тему по установке Январь 5.1 на мерседес. Вполне ясным языком написано там, что на 6-ти цилиндровые двигатели вполне несложно устанавливается Январь. Только систему зажигания надо бы с М103 поставить с соответствующим объемом двигателя, как я понимаю. И наверное всё.
MB 190, 89 год выпуска, модель201.028, 2,3, РКПП 5 ст., пока живой КЕ...
Да - sportline, оказывается.
VIN - WDB2010281F671706
#37
ОФФЛАЙН
Отправлено 29 July 2009 - 16:15
Судя по описанию проблемы только с расходом топлива. Это исправимо.
Mercedes-Benz. Ihr guter Stern auf allen Straßen.
#38
ОФФЛАЙН
Отправлено 29 July 2009 - 17:40
вот теперь бы понять - как именно исправимо. Потому что если дело в датчиках или механике - можно подумать, а как быть, если что-то в электронной схеме накрылось? Это уже задача будет совсем другого порядка.
MB 190, 89 год выпуска, модель201.028, 2,3, РКПП 5 ст., пока живой КЕ...
Да - sportline, оказывается.
VIN - WDB2010281F671706
Количество пользователей, читающих эту тему: 1
0 пользователей, 1 гостей, 0 анонимных





