да просто со старыми свечами быстрее тухла спиралька))
603.971 капиталка
#41
ОФФЛАЙН
Отправлено 23 April 2012 - 11:11
С180, W202, МКПП, 99 г.в.
#42
ОФФЛАЙН
Отправлено 25 April 2012 - 05:07
нет ну это нечто!
вчера пробовал прокочать систему... с 3 по 6 цилиндры солярка пошла, в первые два НИКАК! сухо блин(((
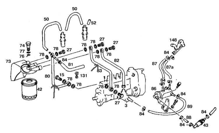
т.к. аккумулятор заряжал всего два часа то надолго его не хватило. Поставил сегодня на весь день пусть заряжается, вечером опять пробовать буду. А пока что нашел нарушение при сборки топливной системы. Нагнетающий топливопровод были попутаны местами с возвратным (помечены на рис.). Может ли это быть связано с тем что в первые два не подавалась солярка? или все таки уже лезть в сам ТНВД нужно?
С180, W202, МКПП, 99 г.в.
#43
ОФФЛАЙН
Отправлено 25 April 2012 - 09:37
ну так что, подскажет кто-нибудь? из-за перпутанных трубок в первые два цилиндра не идет солярка, или начинать расстраиваться? ))
С180, W202, МКПП, 99 г.в.
#44
ОФФЛАЙН
Отправлено 25 April 2012 - 12:40
ау, люди добрые и знающие, выручайте)) кстати, если некоторые ваккумные трубки подключены не правильно это может влиять?
С180, W202, МКПП, 99 г.в.
#45
ОФФЛАЙН
Отправлено 25 April 2012 - 13:23
Я бы завёл, пусть потарахтит, мож прокачается.
Велик colnago
#46
ОФФЛАЙН
Отправлено 25 April 2012 - 13:27
спасибо за совет, я также вчера думал. Буду пробовать завести, вчера схватывал но в силу посаженного аккума и неправильной установки некоторых топливных трубок, не завелся))Я бы завёл, пусть потарахтит, мож прокачается.
С180, W202, МКПП, 99 г.в.
#47
ОФФЛАЙН
Отправлено 25 April 2012 - 18:06
завел машину кое как)) холостые не держит совсем, да и заводить надо с педалью газа)) долго не стал мучать ее ибо радиатор не стоит еще. Кстати дым сероватый. Предполагаю что надо подключать все вакуумные шланги да настраивать угол на ТНВД.
С180, W202, МКПП, 99 г.в.
#48
ОФФЛАЙН
Отправлено 25 April 2012 - 21:50
...серовато-сизый дым - поздний впрыск. Был случай, с рейки ТНВД соскочил поводок плунжера и не работал один цилиндр.завел машину кое как)) холостые не держит совсем, да и заводить надо с педалью газа)) долго не стал мучать ее ибо радиатор не стоит еще. Кстати дым сероватый. Предполагаю что надо подключать все вакуумные шланги да настраивать угол на ТНВД.
#49
ОФФЛАЙН
Отправлено 26 April 2012 - 06:25
да топливо вроде во все цилиндры подается теперь. Надо ТНВД видимо крутить к двигателю потихоньку) да трубки вакуумные ПРАВИЛЬНО подсоединить. Главное что завелся
С180, W202, МКПП, 99 г.в.
#50
ОФФЛАЙН
Отправлено 30 April 2012 - 10:18
люди ну не пойму что за хрень....
холостые не держит, заводится кое как. Еще вопрос по вакумной системе. Начинаю крутить стартером глушилка срабатывает (рычаг на тнвд опускается вниз!) по схеме вроде правильно все поставил. Нажмешь на тормоз рычаг вверх уходит. Крутил тнвд в сторону движка почти до упора, вообще переставал заводиться, сейчас крутанул от движка тоже почти до упора, особых изменений не вижу. Что за нафиг? (((
С180, W202, МКПП, 99 г.в.
#51
ОФФЛАЙН
Отправлено 30 April 2012 - 12:51
люди ну не пойму что за хрень....
холостые не держит, заводится кое как. Еще вопрос по вакумной системе. Начинаю крутить стартером глушилка срабатывает (рычаг на тнвд опускается вниз!) по схеме вроде правильно все поставил. Нажмешь на тормоз рычаг вверх уходит. Крутил тнвд в сторону движка почти до упора, вообще переставал заводиться, сейчас крутанул от движка тоже почти до упора, особых изменений не вижу. Что за нафиг? (((
Про глушилку это либо неправильно вакуумные трубки подсоединил либо умер клапан на замке зажигания.
А по холостым похоже кто-то кривыми ручками к ТНВД слазил.
Сообщение отредактировал Stiv: 30 April 2012 - 12:51
W 124 260E МКП 1992 г Не сошлись характером продал
W 124 E280 104942 АКП 722433 95 год просто зверь
#52
ОФФЛАЙН
Отправлено 30 April 2012 - 14:35
тнвд не разбирался
там же существуют какие то датчики отвечающие за холостой ход.... как я понял один стоит на корме тнвд а второй датчик ОЖ спереди... как можно их проверить?
по глушилке тоже интересно... до этой разборки все работало, снимался ваккумный насос, его можно как то не так поставить????
С180, W202, МКПП, 99 г.в.
#53
ОФФЛАЙН
Отправлено 01 May 2012 - 10:14
а может ли это быть из-за неисправных форсунок?
С180, W202, МКПП, 99 г.в.
#54
ОФФЛАЙН
Отправлено 01 May 2012 - 11:14
Ты разобрался с глушилкой? Рычаг не должен опускатся. Если опускается, значит глушилка подключена не через замок, а напрямую к вакуумному насосу.
W201, 1986 г.в., WDB2011221F270182, 2.0 Diesel, 4-МКПП, Серый антрацит
W201club.com
#55
ОФФЛАЙН
Отправлено 01 May 2012 - 11:16
Не могли у теюя сломатся все форсунки сразу. Да и нет такого понятия. Даже если бы она сцала, всё равно мотор заводился бы.а может ли это быть из-за неисправных форсунок?
W201, 1986 г.в., WDB2011221F270182, 2.0 Diesel, 4-МКПП, Серый антрацит
W201club.com
#56
ОФФЛАЙН
Отправлено 01 May 2012 - 13:25
мотор то заводится, холостые не держат, троит, колбасит его. Посидишь с педалью газа, пока не прогреется градусов до 80, начинает лучше заводиться.Не могли у теюя сломатся все форсунки сразу. Да и нет такого понятия. Даже если бы она сцала, всё равно мотор заводился бы.
С глушилкой еще не разобрался, общая магистраль не трогалась, снимался только сам вакуумный насос, да эти три трубки которые к тнвд подходят. Не могу пока понять в чем дело. Начинаешь крутить, рычаг опускается, жмешь на тормоз - он поднимается. Мистика какая то((
С180, W202, МКПП, 99 г.в.
#57
ОФФЛАЙН
Отправлено 01 May 2012 - 13:26
просто эти кулибины когда заводили мотор после ремонта, они не откручивали трубки от форсунок, более того я не знаю в каком состоянии хранились эти форсунки, может роняли их или еще чего. На неделе откручу их и свожу к топливщику, пусть продиагностирует их
С180, W202, МКПП, 99 г.в.
#58
ОФФЛАЙН
Отправлено 01 May 2012 - 13:30
еще нужно разобраться со свечами накала. Свечи нвоые стоят. Но спираль оооочень долго не гаснет, около минуты наверно. У меня она так работала зимой в минус 25, но сейчас ведь лето.... грешу на датчик ОЖ который вкручивается в движок, который зеленого цвета. У него как выяснилось был обломлен разъем, там два провода, я не знаю какая полярность у них, пробовал в обоих положениях, изменений никаких. Просто где то прочитал что свечи накала связаны с этим датчиком. Может они его повредили, решил и его заказать. Единственное подскажите как на нем провода расположены, там вроде зеленый и белый, если мне память неизменяет. Какой куда блин((9
как хреново после криворуких машину делать((
С180, W202, МКПП, 99 г.в.
#59
ОФФЛАЙН
Отправлено 01 May 2012 - 13:40
попозже мне в асю (в профиле есть) постучись...еще нужно разобраться со свечами накала. Свечи нвоые стоят. Но спираль оооочень долго не гаснет, около минуты наверно. У меня она так работала зимой в минус 25, но сейчас ведь лето.... грешу на датчик ОЖ который вкручивается в движок, который зеленого цвета. У него как выяснилось был обломлен разъем, там два провода, я не знаю какая полярность у них, пробовал в обоих положениях, изменений никаких. Просто где то прочитал что свечи накала связаны с этим датчиком. Может они его повредили, решил и его заказать. Единственное подскажите как на нем провода расположены, там вроде зеленый и белый, если мне память неизменяет. Какой куда блин((9
как хреново после криворуких машину делать((
W140 S350TD ОМ603.971 4АКПП 1993
W124 300E-24 в разбор- есть куча всего...
+7-917-712-0422 Алексей http://vk.com/chiptuning12

Количество пользователей, читающих эту тему: 1
0 пользователей, 1 гостей, 0 анонимных






